一、走进企业
济民可信创立于1999年,是中国领先的大健康产业集团,总部位于中国南昌。秉承创新驱动的战略方针,济民可信通过产品、技术与服务的不断升级,为人类健康提供可信赖的保障,致力于成为国际先进的现代化大健康产业集团。
为促进全球绿色发展,助力“双碳”目标达成,济民可信积极践行“两山”理论和循环经济理念,已建成“中国首创、亚洲第一、全球最大”的煤制清洁燃气生产基地,并投资建设“中国东部首个现代化石材产业基地”,致力于成为推动地方经济高质量发展的生态引擎。
济民可信始终坚持“济世惠民、信待天下”的企业使命,切实履行企业社会责任,实现企业公共价值,积极投身公益慈善事业,荣获 “中华慈善突出贡献奖”,入选新华社民族品牌工程。展望未来,济民可信将持续打造新质生产力,为提高人类的健康水平而不懈努力!

二、辐射布局
济民可信在上海浦东设立全球医药创新总部,以临床价值与全民健康为导向,全面推进 “Ai+”战略布局,打造"基础研究-临床转化-全球注册"三位一体的研发体系,并通过13家现代化制药基地,推动创新药(生物药、化药、中药)、原料药以及高端制剂等前沿技术的全球开发与转化落地,为公众提供“疗效显著、安全可靠、价格可及”的药物以及多元化、专业化的健康产品,并持续完善服务生态,创造更全面的健康价值,书写更有温度的健康中国答卷。
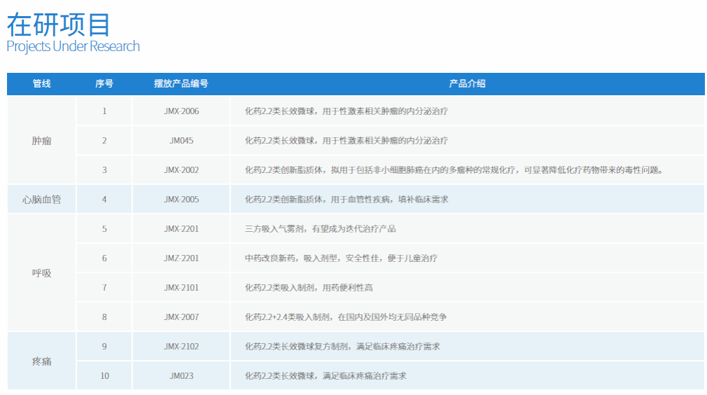
当前,济民可信已在肾病、肿瘤、心脑血管、呼吸、疼痛等领域取得丰硕成果,产品远销50多个国家和地区,并实现多项创新药物知识产权的海外权益转让。在不断为人类健康贡献中国智慧的同时,济民可信还积极引进国际领先药物与健康产品进入中国市场,以满足日益增长的公众健康需求。
三、科技研发
1. 大分子创新研究院
研发概述
专注于创新抗体等生物大分子药物研发,形成了三大支持体系,四大部门和五大核心技术平台,保障大分子药物从发现到IND申报的研发全过程。
深耕肿瘤,精耕呼吸,肾病及感染领域,立足国内,辐射全球,致力研发安全高效的生物药和解决重大未被满足的临床需求。
拥有从分子到工艺和临床的完整研发能力和先进的开发平台,可以开发单抗、双抗、融合蛋白等各种生物大分子治疗产品。

研发团队
大分子创新研究院拥有近60人的研发团队,由一批具有中美20年生物医药资深研发管理经验的海归博士担任管理层,硕士占比约56%、博士占比约11%。
飛泰抗体发现平台
以百亿级健康人天然抗体库为基础,以噬菌体展示与酵母展示技术为巧手,集成了噬菌体展示的高通量与酵母展示的可视化、多维度筛选的优势,针对药物靶点可快速、精准筛选出识别独特表位的候选抗体,大大缩短了抗体发现阶段的研发周期,为抗体药物的研发提供了强劲动力。
2.小分子创新研究院
研发概述
专注于患者急需的、治疗方法未满足的疾病治疗领域。注重疾病靶点的科学调研和合理布局,强调项目的前瞻性,关注疾病治疗领域的最新进展。
探索和开发针对新靶点、新机制的具有全球新原创性的新药,占领新药研发的制高点;对于机制明确和验证的靶点,找到同靶点药物的缺点和短板,有的放矢来解决问题,做到同类最好;对于热门靶点,充分发挥内、外部联合的优势,特别加大化学合成的力度,做到竞争领先优势。
涉及肾病、肿瘤、心脑血管、呼吸、疼痛五大领域,拥有药物化学、药效学、药物代谢学、毒理安全性评价、制剂工艺开发、临床研究和中外临床申报等完善的布局,有效整合化学信息学、结构化学、计算机辅助药物设计等多项技术,打造出一个高效、智能的小分子创新药物筛选和优化平台。

研发团队
小分子研究院拥有上百人的研发团队,硕士占比约70%、博士占比约20%,核心团队成员曾就职于国内外知名药企,拥有海外学习、工作经历,参与或主导针对重大疾病的一类新药的研发和申报工作,具有丰富的技术和管理经验。


3.创新技术药物研究院


研发团队
研究院打造了一支高效的研发团队,追求卓越的科研创新,目前拥有研发及管理人员近200人,其中硕博士学历人才占比超过50%,核心成员曾就职于国内外知名企业,具有国际化视野、丰富的技术及管理经验,具备国际一流的创新型药物开发能力。

四、业绩展示
2024——2024年中国医药工业最具投资价值企业
江西民营企业100强 第8位
2023——2023江西制造业民营企业100强 第6位
2023年中国制造业民营企业500强 第317位
2023年中国医药工业——最具成长力企业
2023年度中国医药工业百强企业 第16位
2022——2022年中国医药研发产品线最佳工业企业 第24位
2021——新中国成立70周年中国医药卫生企业功勋单位(集团)
赣鄱慈善奖(最具爱心捐赠企业)集团
2021年度中国医药工业百强企业 第11位
2020——国家科学技术进步奖
2020年新冠肺炎疫情防控爱心捐赠榜样集体
2020年爱心助力阿克陶脱贫攻坚榜样集体
2020年中国医药工业最具投资价值企业(非上市)集团
江西省科学技术进步奖证书
2020年江西民营企业100强 第5位
2020年江西制造业民营企业100强 第4位
2020年中国医药创新企业100强(集团)
图文来源:江西济民可信集团有限公司
公司网址:www.jemincare.com
